Предохранительные клапаны из чугуна и стали для пара АСТА П02

DN: 20х32-200х300
PN: 1,6 Мпа / 4 МПа
t max°: 300°С
Материал корпуса: чугун СЧ / углеродистая сталь / нержавеющая сталь
Присоединение: фланцевое
Скачать сертификаты: ТР ТС 10
ТР ТС 32
Скачать паспорт: ACTA_P02

Описание

Предохранительные клапаны предназначены для защиты сосудов, оборудования и трубопроводов от аварийного повышения давления сверх допустимой величины. Защите предохранительными клапанами подлежат сосуды, оборудование и трубопроводы, в которых возможно повышение давления от питающего источника, от химической реакции, от обогрева подогревателя, от солнечной радиации, в случае возникновения пожара рядом с сосудом или трубопроводом.

Характеристики:
Рабочая среда: вода в системах теплоснабжения
Максимальная температура: 300°С
Минимальная температура:
Типоразмеры: 20х32-200х300
Присоединение: Фланцы по ГОСТ 12815 исп.1 PN16
Установка: корпус вертикально, вход через патрубок снизу, сброс среды через боковой патрубок. В случае подъёма отводящего трубопровода необходимо организовать дополнительный дренаж через специальное отверстие в корпусе клапана.

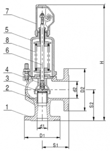
Весогабаритные характеристики (для СЧ PN16, для прочих материалов по запросу):

DN Седло D1 D2 S1 S2 H Дренаж Давление начала срабатывания Масса
d1xd2 d0 A E мин макс кг
мм мм2 PN16 PN10 мм бар
20х32 16 201 105 140 85 95 345 G1/4″ 0,45 16 7,5
25х40 20 314 115 150 95 105 395 G1/4″ 0,45 16 9,0
32х50 25 491 140 165 100 110 420 G1/4″ 0,45 16 13,0
40х65 32 804 150 185 115 130 495 G1/4″ 0,45 16 19,0
50х80 40 1257 165 200 125 145 550 G1/4″ 0,45 16 25,0
65х100 50 1964 185 220 140 150 660 G3/8″ 0,45 16 37,0
80х125 63 3117 200 250 155 170 710 G3/8″ 0,45 16 52,0
100х150 77 4657 220 285 175 180 810 G3/8″ 0,45 16 77,0
125х200 93 6793 250 340 215 220 860 G3/8″ 0,45 12,5 90,0
150х250 110 9503 285 395 225 245 100 G3/8″ 0,45 10 140,0

 

 Спецификация материалов:

Наименование Материал
1 Корпус EN-GJL-250
2 Седло X39CrMo17–1
3 Плунжер X39CrMo17–1
4 Колокол EN-GJL-400–15
5 Крышка EN-GJL-250
6 Шток X20Cr131
7 Крышка EN-GJL-400–15
8 Пружина 51CrV42

Отзывы

Отзывов пока нет.

Будьте первым, кто оставил отзыв на “Предохранительные клапаны из чугуна и стали для пара АСТА П02”

Ваш адрес email не будет опубликован. Обязательные поля помечены *