Описание
АСТА Д113 ТЕРМОКОМПАКТ – односедельный редукционный клапан прямого действия, предназначенный для автоматического поддержания заданного давления рабочей среды на выходе из регулятора. Принцип действия основан на уравновешивании силы упругой деформации настроечной пружины и силы, создаваемой разностью давлений в камерах мембранного привода.
Применяется в стеснённых условиях на объектах ЖКХ (котельные, ЦТП, ИТП) в санитарно-технических системах зданий (отопление, вентиляция, водоснабжение).
Особенности конструкции
- Компактные размеры регулятора
- Компенсация давления
- Мягкое уплотнение затвора
- Нестандартные значения Kvs
- Широкий диапазон давления настройки
Технические характеристики
| Номинальный диаметр DN | 15–200 |
| Условное давление PN | 16 бар |
| Температура рабочей среды | от -10 °С до 150 °С |
| Рабочая среда | Вода, воздух, гликоли, а также другие среды, совместимые с материалами конструкции клапана |
| Пропускная способность клапана, Kvs | 1,0 — 630 м3/ч |
| Положение безопасности | Нормально-открытое |
| Компенсация давления | Разгруженный по давлению |
| Отбор импульса рабочей среды | Внешний |
| Тип присоединения | Фланцевый по ГОСТ 33259-2015, исп.В |
| Климатическое исполнение | УХЛ 4 по ГОСТ 15150-69 |
Массогабаритные характеристики и значения пропускной способности

| DN | L, мм | H, мм | Масса, кг | Kvs, м3/ч |
| 15 | 130 | 365 | 8 | 4,0; 2,5; 1,6; 1,0 |
| 20 | 150 | 370 | 9 | 6,3; 4,0; 3,2; 2,5 |
| 25 | 160 | 375 | 10 | 10; 8,0; 6,3; 4,0 |
| 32 | 180 | 390 | 11 | 16; 12,5; 10; 6,3 |
| 40 | 200 | 395 | 13 | 25; 20; 16; 10 |
| 50 | 230 | 410 | 15 | 32; 25; 16 |
| 65 | 290 | 430 | 20 | 50; 40; 32; 25 |
| 80 | 310 | 450 | 25 | 80; 63; 40; 32 |
| 100 | 350 | 500 | 39 | 125; 100; 63 |
| 125 | 400 | 760 | 60 | 160; 125; 100 |
| 150 | 480 | 800 | 82 | 280; 250; 200;160 |
| 200 | 600 | 1270 | 170 | 630; 450; 360; 250 |
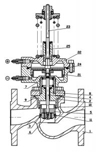
Спецификация материалов

| № | Наименование | Материал |
| 1 | Корпус | СЧ 20 |
| 2 | Крышка |
Сталь 40Х13 / Сталь 20* |
| 3 | Седло | Сталь 40Х13 |
| 4 | Шток нижний | Сталь 40Х13 |
| 5 | Поршень | Сталь 40Х13 |
| 6 | Плунжер | Сталь 40Х13 |
| 7 | Пружина | Сталь 40Х13 |
| 8 | Узел уплотнения штока | EPDM / NBR |
| 9 | Прокладка крышки корпуса | Графит |
| 10 | Уплотнение разгрузочной камеры | EPDM / NBR |
| 11 | Уплотнение седла | EPDM / NBR (DN15–100) |
| 21 |
Нижняя крышка (S = 56,8 см2) |
СЧ 20 / Сталь 40Х* |
| 21 |
Нижняя крышка (S = 33,2 см2) |
Сталь 40Х |
| 22 |
Верхняя крышка (S = 56,8 см2) |
СЧ 20 / Сталь 40Х* |
| 22 |
Верхняя крышка (S = 33,2 см2) |
Сталь 40Х |
| 23 | Шток верхний | Сталь 40Х13 |
| 24 | Мембрана | EPDM / NBR |
| 25 | Узел уплотнения штока | EPDM / NBR |
* — DN200

Отзывы
Отзывов пока нет.